体育资讯11月17日讯 全运会田径女子400米栏决赛,莫家蝶以55秒19的成绩夺得金牌,孔莹蓥获得银牌,欧莹获得铜牌。
女子400米栏决赛成绩详情如下:
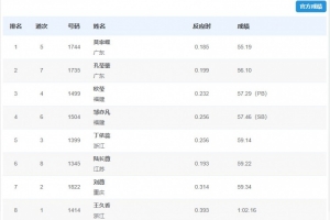
1 莫家蝶 55.19
2 孔莹蓥 56.10
3 欧莹 57.29(PB)
4 邹亦凡 57.46(SB)
5 丁依蕊 59.14
6 陆长薇 59.22
7 刘薇 59.34
8 王久香 1:02.16
上一篇: 陈妤颉小组第一晋级全运会女子100米决赛,决赛名单全部出炉
下一篇: 破全国纪录!福建选手龚德滨48秒68大幅刷新PB 夺男子400米栏金牌
亚特兰大布拉格斯拉维亚今日赛事
NBA湖人vs爵士
斯特拉斯堡vs欧塞尔
NBA76人vs凯尔特人直播
美因茨vs霍芬海姆
意甲帕尔马vs莱切直播
希洪竞技vs巴萨直播
佛罗伦萨vs罗马